Senior Design Engineer, Black & Decker, Spennymoor, Co. Durham, UK (1992–1997)
Worked in new cordless product design for the power tools division.
Compact Power Cordless Drill Range
Part of the design team for the radical new Compact Power cordless range, developed for professional users.
Features included a mid-handle design with soft grip, two-stage epicyclic gearbox, and newly purpose designed and manufactured Black & Decker DC Motor ( instead of the usual off the shelf DC Motor).

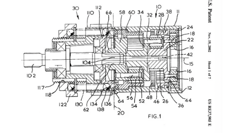
Mechanism Design
My role was the mechanisms: clutch, two-stage hammer, and combined hammer/adjustable torque control clutch (first single-control-ring system for clutch/drill/hammer-drill modes).
Launched in Europe under the Professional ELU brand and in the US as DeWalt and manufactured at Spennymoor (UK) and at several US plants.
The product was a huge hit and achieved strong sales, received multiple design awards, and influenced later designs .
The concept remains in use by DeWalt, forming the basis of their cordless drill range (tens of millions sold).
Combined hammer-drill + adjustable torque-clutch mechanism
World Wide Patents Including
US5704433
EP0706861A1
EP0613758B1
GB22756445
Quattro Multi-Tool
Worked on a multi-tool with interchangeable accessories, marketed as the Quattro. Supported applications including drilling, cutting, and sanding.
I am not cited on any multi tool patents but it was an interesting design challenge including a wobble mechanism for the jig saw attachement